土工合成材料簡介
土工合成材料是土木工程應用的合成材料的總稱。作為一種土木工程材料,它是以人工合成的聚合物(如塑料、化纖、合成橡膠等)為原料,制成各種類型的產品,置于土體內部、表面或各種土體之間,發揮加強或保護土體的作用,利用紡織品的特性對泥土起著加固、排水、過濾,隔離、防護等作用,可以延長土木工程的壽命、縮短施工時間、節省原材料、降低工程造價、簡化維護保養。
土工合成材料分為:土工織物,土工膜,土工格柵,土工特種材料,土工復合材料。土工格柵是一種主要的土工合成材料,是用聚丙烯、聚氯乙烯等高分子聚合物經熱塑或模壓而成的二維網格狀或具有一定高度的三維立體網格屏柵。土工格柵用作加筋土結構的筋材或復合材料的筋材等。土工格柵分為塑料土工格柵、鋼塑土工格柵、玻璃纖維土工格柵和玻纖聚酯土工格柵四大類。
2010年起,所有在歐盟市場銷售的土工相關產品都必須經過CE認證,并加貼CE標識,才能在市場范圍內銷售。
土工產品CE認證根據歐盟建筑產品指令CPD: 89/106/EEC,必須由歐盟委員會認可的具備相關資質能力的指定公告機構(Notified Body),根據體系2+進行操作。即由歐盟公告機構對工廠及工廠生產控制進行檢查,并進行持續性監督評估。歐盟為了更加嚴格的規范建筑產品CE認證,自2013年7月1日起,歐盟頒布的建筑產品法規Construction Product Regulation No.305/2011/EU-CPR(簡稱CPR法規)全面取代原來的建筑產品CE認證指令(Construction product directive 89/106/EEC-CPD(簡稱CPD指令),進入強制實施階段。
土工織物CE認證標準
土工織物屬于建筑產品,需要按照2013年7月最新開始強制實施的歐盟建材法規CPR(305/2011/EU)進行CE認證,根據不同用途和種類的土工格柵,需要根據相應的標準進行檢測后,才能簽發CE證書。
EN13249—Geotextiles and geotextile-related products-Characteristics required for use in the construction of roads and other trafficked areas.
土工織物和土工織物相關產品——用于道路建設
EN13250–Geotextiles and geotextile-related products-Characteristics required for used in the construction of railways.
土工織物和土工織物相關產品——用于鐵路建設
EN13251– Geotextiles and geotextile-related products-Characteristics required for use in earthworks, foundations and retaining structures
土工織物和土工織物相關產品——用于土方建設、基礎建設
EN13252– Geotextiles and geotextile-related products-Characteristics required for use in drainage systems
土工織物和土工織物相關產品——用于排水系統
EN13253– Gextextiles and geotextile-related products-Characteristics required for use in erosion control works
土工織物和土工織物相關產品——用于控腐蝕系統
EN13254– Gextextiles and geotextile-related products-Characteristics required for use in erosion control works
土工織物和土工織物相關產品——用于控腐蝕系統
EN13255–Geotextiles and geotextile-related products-Characteristics required for use in the construction of canals
土工織物和土工織物相關產品——用于溝渠建設
EN13256– Geotextiles and geotextile-related products-Characteristics required for use in the construction of tunnels and underground structures
土工織物和土工織物相關產品——用于隧道和地下設施建設
EN13257– Geotextiles and geotextile-related products-Characteristics required for use in solid waste disposals
土工織物和土工織物相關產品——用于固體廢物處理
EN13265– Geotextiles and geotextile-related products-Characteristics required for use in liquid waste containment projects
土工織物和土工織物相關產品——用于液體廢水污染工程
EN15381-2008-Geotextiles and geotextile-related products – Characteristics required for use in pavements and asphalt overlays
土工織物及其相關制品.公路和瀝青鋪設中的特殊使用要求
EN 13361:2004-Geosynthetic barriers – Characteristics required for use in the construction of reservoirs and dams
土木合成阻檔層.作為水庫和壩結構中使用的流體阻擋層的特征要求
EN13362:2005-Geosynthetic Barriers – Characteristics required for use in the construction of canals
土木合成阻擋層.運河建設中使用的特定要求
EN13491:2004-Geosynthetic barriers – Characteristics required for use as a fluid barrier in the construction of tunnels and underground structures
土木合成阻擋層.用作隧道和地下結構的流體阻擋層的特征要求
EN13492:2004-Geosynthetic barriers – Characteristics required for use in the construction of liquid waste disposal sites, transfer stations or secondary containment
土木合成阻擋層.液體廢棄物處置場所、傳送站或二級容器結構中使用的阻擋層的特征要求
EN13493:2005-Geosynthetic barriers – Characteristics required for use in the construction of solid waste storage and disposal sites
土工合成阻擋層.固體廢棄物存儲和處理場所的施工中使用的阻擋層所要求的特征
土工材料CE認證如何選擇認證的模式?
土工類產品CE認證的模式是2+模式。需要經過NB機構進行測試,然后經過NB機構審核過后進行工廠審查,通過之后就可以拿到證書。而且每年都需要進行工廠檢查
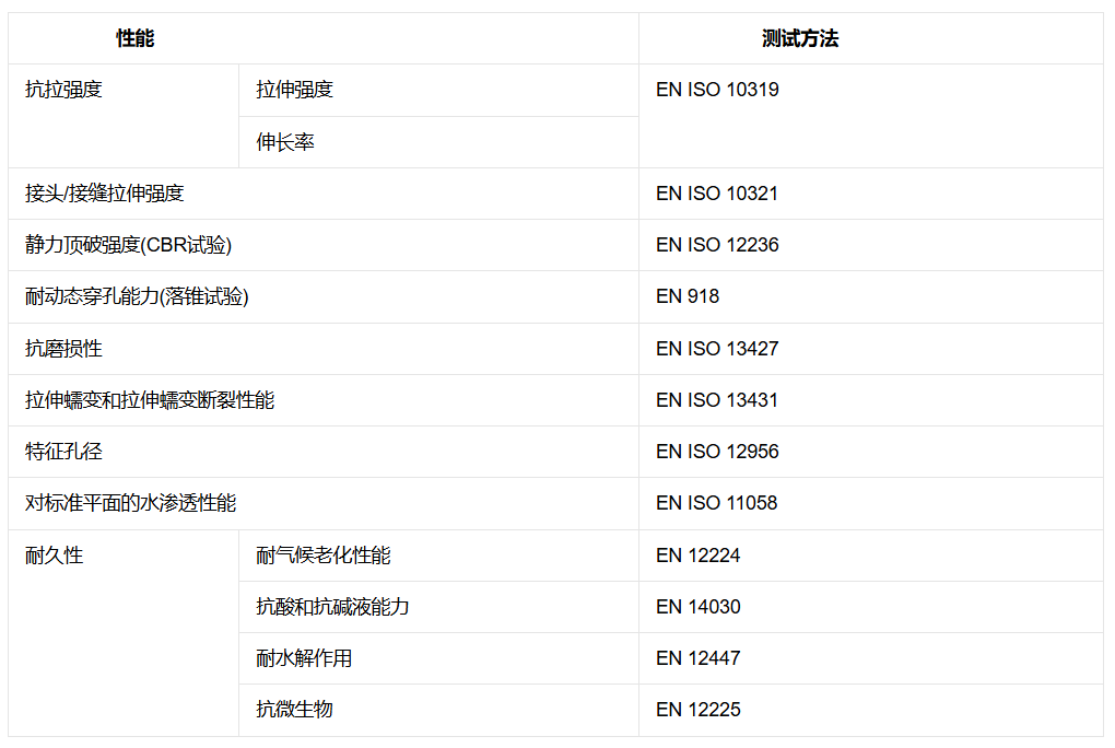
土工格柵織物根據其功能需進行的相關測試項目及對應標準:
根據上面的描述我們以 土工布CE認證舉例
1. EN 15381:2008—Geotextiles and geotexitile-related products-Characteristics required for use in pavements and asphalt overlays.
EN 15381:2008–土工布和土工布相關產品—用于公路和瀝表覆蓋層。
2. 土工布CE認證強制時間
2010年起,所有在歐盟市場銷售的土工布及土工布相關產品都必須經過CE認證,其產品加貼CE標識,才能在市場范圍內銷售。土工布及土工布相關產品CE認證根據EN 15381:2008標準進行認證。
3.土工布CE認證產品認證法規及體系
土工織物CE認證根據歐盟建筑產品CPR法規,采用體系2+產品認證體系。從2013年7月1日起,歐盟建筑產品法規305/2011/EU-CPR法規將取代建筑產品指令89/106/EEC-CPD指令,進入強制實施階段。
4.土工布CE認證進行如下初步測試評估:
Tensile strength(抗拉強度)EN ISO 10319
Elongation at maximum load(最大載荷延伸率): EN ISO 10319
Durability(耐久性)
等等認證----02
2026年3月11日
2026年3月11日
2026年3月11日
2026年3月11日
2026年3月9日
2026年3月9日
2026年3月9日
2026年3月9日
2026年3月6日
2026年3月6日

